Products
24H SERVICE


| 熱交換計算式
冬天:室內供氣溫度=(室內溫度-室外溫度) ×熱交換效率+室外溫度計算例:(18℃-0℃)×75%+0℃=13.5℃ |
熱交換計算式
冬天:室內供氣溫度=室外溫度-(室外溫度-室內溫度) ×熱交換效率計算例:32℃-(32℃-24℃)×75%=26℃ |

|
KHQ-200D |
KHQ-300D |
KHQ-500D | |
|
額定風量(m3/h) |
200 |
300 |
500 |
|
出口靜壓(Pa) |
25 |
75 |
75 |
|
熱交換率(%) |
70 |
70 |
70 |
|
噪 聲dB(A) |
42 |
44 |
48 |
|
裝機功率(KW) |
2×0.04 |
2×0.06 |
2×0.1 |
|
額定電壓(V) |
220 |
220 |
220 |
|
重量(Kg) |
30 |
45 |
65 |
|
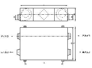
|
L |
W |
H |
A |
B |
出風口尺寸D |
回風口尺寸D |
|
KHQ-200D |
650 |
520 |
250 |
530 |
550 |
150 |
150 |
|
KHQ-300D |
890 |
650 |
250 |
730 |
730 |
150 |
150 |
|
KHQ-500D |
1000 |
820 |
250 |
840 |
840 |
150 |
150 |